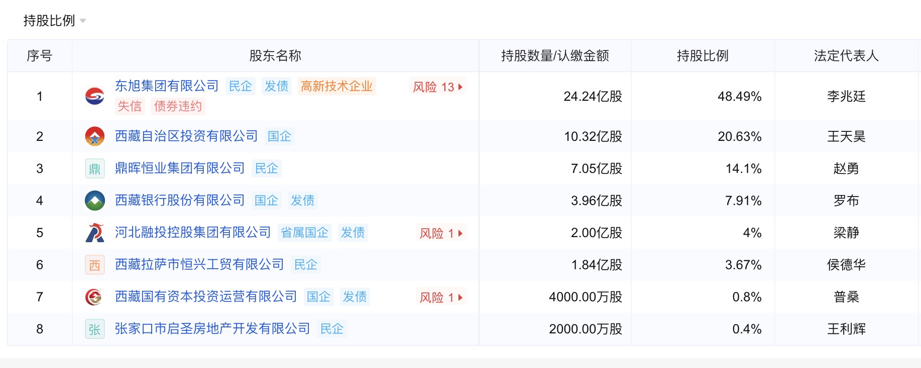
西藏金租因关联交易被吊销金融许可证,曾两年破百亿规模
西藏金租因关联交易被吊销金融许可证,曾两年破百亿规模 事实上,早在2021年,西藏金租就因关联交易问题被监管警示。但此次处罚力度空前——直接吊销金融许可证,意味着这家2015年成立的金融机构将退出...
股票开户
2025-05-26 14:02:01阅读:120
西藏金租因关联交易被吊销金融许可证,曾两年破百亿规模 事实上,早在2021年,西藏金租就因关联交易问题被监管警示。但此次处罚力度空前——直接吊销金融许可证,意味着这家2015年成立的金融机构将退出...